平台首页
-- 选择主栏目 --
产学研联盟“揭榜挂帅”
离岸创新中心
成果转化交易
科技金融服务
政策支持兑现
闲置资产交易
区间战略合作
智能制造
会员登录
免费注册
帮助中心
关于我们
优质企业
顾问咨询
0421-2575228
快速查找:
技术转让
闲置资产
成果发布
揭榜发榜
产业联盟
搜索
关注公众号
浏览手机版
成果转化交易
首页
企业需求
专利成果展示
科技成果展示
专家库
科技资讯
平台首页
>
成果转化交易
>
专利成果展示
行业领域
不限
机械制造
环保资源
建筑建材
食品饮料
家居用品
轻工纺织
化学化工
新能源
仪器仪表
新型材料
电子信息
农林牧业
海洋开发
航空航天
采矿冶金
医药与医疗
安全防护
交通运输
橡胶塑料
教育休闲
包装印刷
电气自动化
其他
需求类别
不限
技术需求
人才需求
产品需求
设备需求
其他
法律状态
不限
已下证
未下证
其他
关键字查询
查找
为您找到
1813
条符合条件的记录
一种并行存取的快递柜
本发明公开了一种并行存取的快递柜。
2024-03-27
行业领域:家居用品
需求类别:产品需求
法律状态:未下证
查看详情
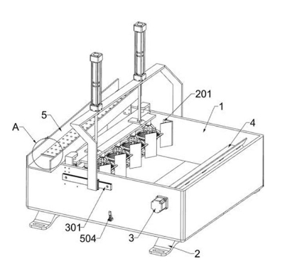
一种管材线下切割设备
本发明公开了一种管材线下切割设备,其结构包括底架、隔板、托辊、移动架、切割机、调节架,
2024-03-27
行业领域:建筑建材
需求类别:产品需求
法律状态:未下证
查看详情
一种板件成型切断一体化设备
本发明公布了一种板件成型切断一体化设备,包括用于冲切折弯板件的折弯部件以及用于板件断料的切割部件...
2024-03-27
行业领域:机械制造
需求类别:设备需求
法律状态:未下证
查看详情
一种内置空气调节装置的安全帽
本发明涉及安全帽内部空气调节技术领域,尤其是一种内置空气调节装置的安全帽。
2024-03-27
行业领域:安全防护
需求类别:产品需求
法律状态:未下证
查看详情
一种可视遥控器
本发明公开了一种可视遥控器,具体涉及遥控器技术领域,包括遥控器主体。
2024-03-25
行业领域:家居用品
需求类别:产品需求
法律状态:未下证
查看详情
一种存贮药瓶
本发明公开了一种存贮药瓶,包括防护瓶底,所述防护瓶底顶部固定连接有瓶身。
2024-03-25
行业领域:医药与医疗
需求类别:产品需求
法律状态:未下证
查看详情
一种带有灭火功能的数控机床
本发明公开了一种带有灭火功能的数控机床,包括:加工中心、数控中心、多角度灭火机构和火灾报警器
2024-03-25
行业领域:机械制造
需求类别:设备需求
法律状态:未下证
查看详情
一种儿童玩具检测装置
本发明涉及儿童玩具领域,尤其涉及一种儿童玩具检测装置。
2024-03-25
行业领域:其他
需求类别:设备需求
法律状态:未下证
查看详情
一种发光玻璃钢格栅生产线组
本发明涉及玻璃钢格栅领域,尤其涉及一种发光玻璃钢格栅生产线组。
2024-03-25
行业领域:建筑建材
需求类别:设备需求
法律状态:未下证
查看详情
一种粮食采样用多样式采样并修补设备
本发明涉及粮食采样领域,尤其涉及一种粮食采样用多样式采样并修补设备。
2024-03-25
行业领域:农林牧业
需求类别:产品需求
法律状态:未下证
查看详情
一种复杂环境下智能行走机器人自主导航改进方法
本申请对智能行走机器人在复杂环境下的自主导航方法进行优化,提出的解决方案不仅能实现稳定高效的机器人自主导航...
2024-03-25
行业领域:机械制造
需求类别:设备需求
法律状态:未下证
查看详情
一种用于制备鱼味调味料的生产装置
本发明涉及调味料生产领域,尤其涉及一种用于制备鱼味调味料的生产装置。
2024-03-25
行业领域:食品饮料
需求类别:技术需求
法律状态:未下证
查看详情
一种城乡规划用植草砖铺放设备
本发明涉及城乡规划领域,尤其涉及一种城乡规划用植草砖铺放设备
2024-03-25
行业领域:农林牧业
需求类别:设备需求
法律状态:未下证
查看详情
一种外缩内扩式植物发酵用原料预处理设备
本发明涉及植物发酵领域,尤其涉及一种外缩内扩式植物发酵用原料预处理设备
2024-03-25
行业领域:农林牧业
需求类别:产品需求
法律状态:未下证
查看详情
一种不同厚度钢网模混凝土墙体对比检测用防裂测试装置
本发明公开了一种不同厚度钢网模混凝土墙体对比检测用防裂测试装置
2024-03-25
行业领域:建筑建材
需求类别:产品需求
法律状态:未下证
查看详情
«
1
2
...
34
35
36
37
38
39
40
...
120
121
»
热点资讯
奖励处同省创研中心成果转化服务部开展工作会商
2022-03-29
奖励处同省创研中心成果转化服务部开展工作会商
2022-03-29
奖励处同省创研中心成果转化服务部开展工作会商
2022-03-29
奖励处同省创研中心成果转化服务部开展工作会商
2022-03-29
奖励处同省创研中心成果转化服务部开展工作会商
2022-03-29
奖励处同省创研中心成果转化服务部开展工作会商
2022-03-29
朝阳·龙城科创网
www.lckc.cn
热门服务
专利申请
专利交易
专利增值服务
商标注册
关于我们
平台介绍
商务合作
联系方式
法律声明
帮助中心
新手教程
常见问题
服务协议
战略合作伙伴
咨询服务热线
周一至周六:08:30-21:30
电话:0421-2575228
邮箱:cylcjxj@126.com
地址:辽宁省朝阳市龙城区长江路六段五号
网址:www.lckc.cn
关注公众号
浏览手机版
友情连接
辽宁省 · 朝阳市人民政府
朝阳龙城区政府管理委员会
COPYRIGHT © 2022 www.lckc.cn - 朝阳·龙城科创网 版权所有
辽ICP备:100005668