关注公众号
浏览手机版
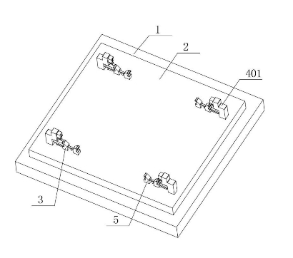
一种可多角度调节的办公家具销售用成品展示装置
  • 行业领域其他
  • 需求类别设备需求
  • 法律状态已下证
  • 项目描述本发明公开了一种可多角度调节的办公家具销售用成品展示装置
  • 发布时间2024-01-23
详情介绍
本发明公开了一种可多角度调节的办公家具销售用成品展示装置,包括底座,底座顶部连接有转盘,转盘顶部四角均连接有第一夹板,四个第一夹板外部均设有清理机构,四个第一夹板一侧均设有第二夹板,第一夹板与第二夹板之间设有辅助机构,清理机构包括块体,块体固定连接于转盘顶部,本发明通过清理机构的设计,可以当桌脚在挤入第一夹板与第二夹板之间时带动第一夹板进行移动工作,从而使推块在第一气槽内部进行挤压工作,并以气体作为源动力带动刮板进行向上移动的效果,从而达到对桌脚边缘上的杂质进行清除的工作,使其在与第一夹板相接触时由于减少了杂质所以可以增大摩擦力,以便于对家具的固定,具有实用性强的特点。
交易流程
安全保障
咨询服务热线
周一至周六:08:30-21:30

电话:0421-2575228

邮箱:cylcjxj@126.com

地址:辽宁省朝阳市龙城区长江路六段五号

网址:www.lckc.cn

  • 关注公众号
  • 浏览手机版