平台首页
-- 选择主栏目 --
产学研联盟“揭榜挂帅”
离岸创新中心
成果转化交易
科技金融服务
政策支持兑现
闲置资产交易
区间战略合作
智能制造
会员登录
免费注册
帮助中心
关于我们
优质企业
顾问咨询
0421-2575228
快速查找:
技术转让
闲置资产
成果发布
揭榜发榜
产业联盟
搜索
关注公众号
浏览手机版
成果转化交易
首页
企业需求
专利成果展示
科技成果展示
专家库
科技资讯
平台首页
>
成果转化交易
>
专利成果展示
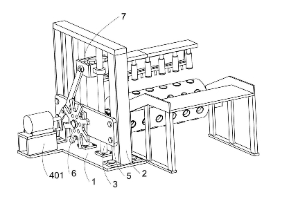
一种挤压厚度可调的柿饼按压装置
行业领域
农林牧业
需求类别
设备需求
法律状态
已下证
项目描述
本发明涉及柿饼加工领域,尤其涉及一种挤压厚度可调的柿饼按压装置
发布时间
2024-01-23
收藏
联系客服
客服时间:早8:00~晚12:00
详情介绍
交易流程
安全保障
详情介绍
本发明涉及柿饼加工领域,尤其涉及一种挤压厚度可调的柿饼按压装置,包括有底座、第一支撑架、滑杆、托板、伺服电机、固定板、载物台等;底座顶部竖直固定连接有第一支撑架,底座的一侧与第一支撑架之间固定连接有滑杆,底座的一侧固定连接有托板,托板上固定连接有伺服电机。本发明间歇机构和按压机构配合能使得滚筒上的圆孔能将一个个柿饼进行分离,然后按压机构对滚筒上的圆孔的柿饼进行按压,且可对柿饼按压程度进行调节,能都够达到按压不同厚度的柿饼的作用。
交易流程
安全保障
上一篇 >
一种园林植被浇洒装置
下一篇 >
一种切割稳定的皮草切割机
热点资讯
奖励处同省创研中心成果转化服务部开展工作会商
2022-03-29
奖励处同省创研中心成果转化服务部开展工作会商
2022-03-29
奖励处同省创研中心成果转化服务部开展工作会商
2022-03-29
奖励处同省创研中心成果转化服务部开展工作会商
2022-03-29
奖励处同省创研中心成果转化服务部开展工作会商
2022-03-29
奖励处同省创研中心成果转化服务部开展工作会商
2022-03-29
朝阳·龙城科创网
www.lckc.cn
热门服务
专利申请
专利交易
专利增值服务
商标注册
关于我们
平台介绍
商务合作
联系方式
法律声明
帮助中心
新手教程
常见问题
服务协议
战略合作伙伴
辽宁省 · 朝阳市政府
朝阳龙城区政府管理委员会
咨询服务热线
周一至周六:08:30-21:30
电话:0421-2575228
邮箱:cylcjxj@126.com
地址:辽宁省朝阳市龙城区长江路六段五号
网址:www.lckc.cn
关注公众号
浏览手机版
友情连接
辽宁省 · 朝阳市人民政府
朝阳龙城区政府管理委员会
COPYRIGHT © 2022 www.lckc.cn - 朝阳·龙城科创网 版权所有
辽ICP备:100005668