关注公众号
浏览手机版
一种便携式环保存放箱
  • 行业领域其他
  • 需求类别设备需求
  • 法律状态已下证
  • 项目描述本实用新型公开了一种便携式环保存放箱
  • 发布时间2024-02-23
详情介绍
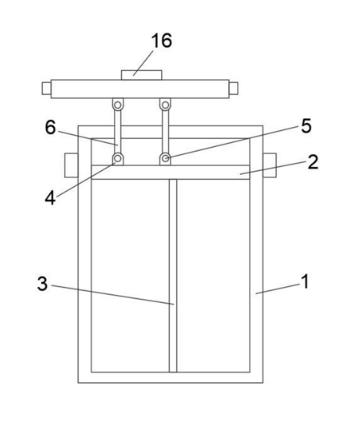
本实用新型公开了一种便携式环保存放箱,支撑杆的顶端通过轴孔与第二销轴固定连接,第二销轴通过安装孔与第二底座活动连接,第二底座通过螺栓与盖板固定连接,进而当对盖板施加向下的作用力时,盖板通过第二底座将作用力传递至支撑杆上,使得支撑杆以第二销轴的轴心线为中心转动,同时支撑杆的底端受力以第一销轴的轴心线为中心转动,进而使得盖板向下移动并与箱体的顶端卡接,从而使得箱体处于封闭状态,方便箱体的携带,使得箱体在携带过程中不易将废弃物倾倒出箱体外,且通过盖板与箱体的卡接,使得箱体的结构更加紧凑,方便携带和移动,从而使得箱体能够根据需要移动至不同位置。
交易流程
安全保障
咨询服务热线
周一至周六:08:30-21:30

电话:0421-2575228

邮箱:cylcjxj@126.com

地址:辽宁省朝阳市龙城区长江路六段五号

网址:www.lckc.cn

  • 关注公众号
  • 浏览手机版